Ifm Flow Sensor Sh0500 Manual

Si5000 Flow Monitor Ifm Electronic

Si5000 Flow Monitor Ifm Electronic

Si1010 Flow Monitor Eclass 27273101 27 27 31 01

Si1010 Flow Monitor Eclass 27273101 27 27 31 01

Si5000 Youtube

Si5000 Youtube

Sa5000 Flow Sensor Ifm Electronic

Sa5000 Flow Sensor Ifm Electronic

Sa5000 Flow Sensor Ifm Electronic

Sa5000 Flow Sensor Ifm Electronic

How To Set Up A Continuous Pulse Signal On An Ifm Magmeter Youtube

How To Set Up A Continuous Pulse Signal On An Ifm Magmeter Youtube

How To Set Up A Continuous Pulse Signal On An Ifm Magmeter Youtube

Is an iso 9001 2015 certified world leader in the manufacturing of sensors and controls for industrial automation.

Ifm flow sensor sh0500 manual.

Upper part of the housing can be rotated by 345. Ifm s product range of flow sensors offer different measuring principles materials and displays to meet the requirements of different industrial manufacturing plant operations across the united states. 4 digit alphanumeric display alternating indication of red and green 3. Flow ifm manual pdf sensor sh0500 this topic contains 0 replies has 1 voice and was last updated by fcgxpqr 1 year 1 month ago.

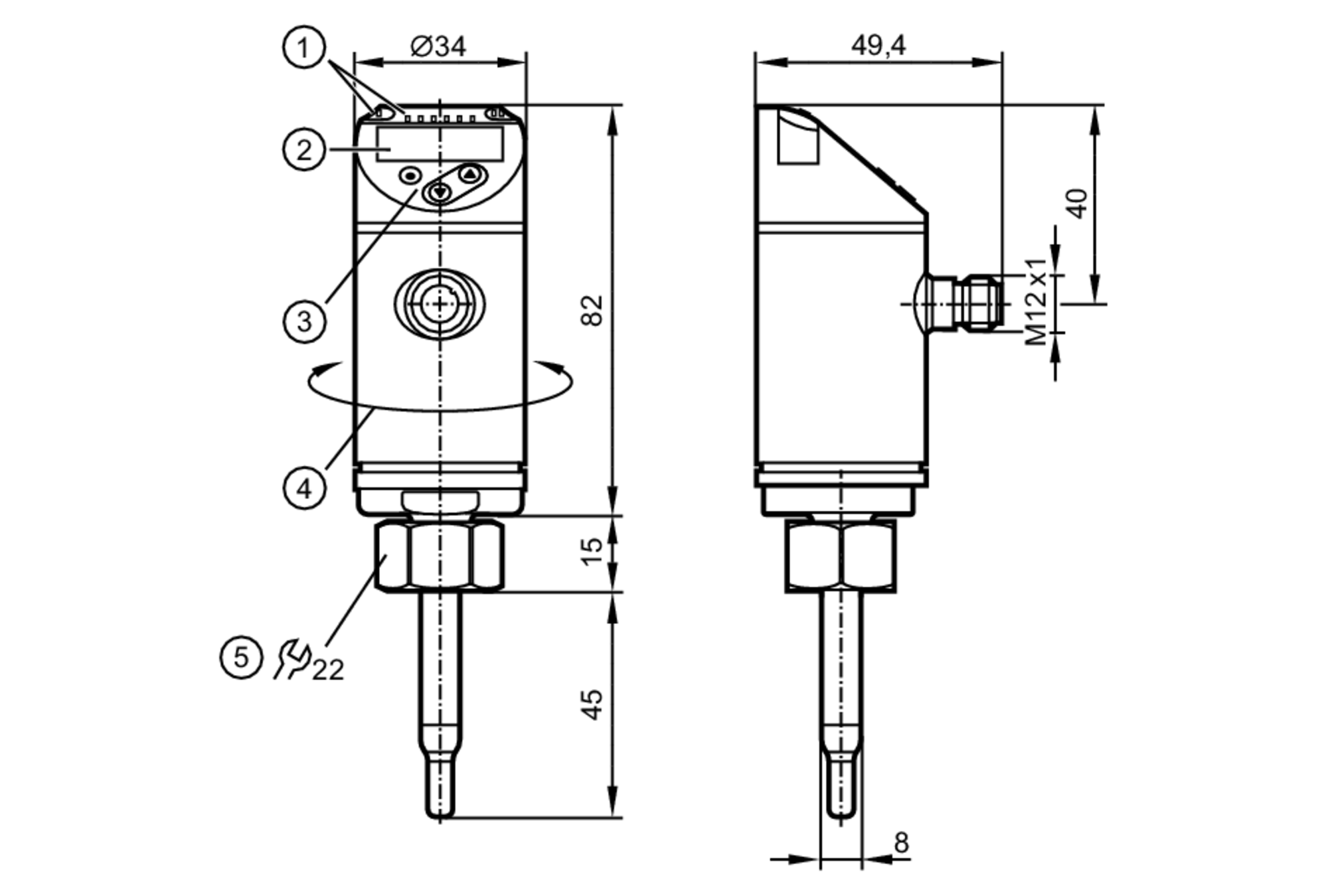
Compact flow sensors in stainless steel housing. Minimum 12 mm recommended for horizontal pipes. Leds display unit switching status 2. We ship 90 of our orders within one hour and have an engineering customer support team available as part of our philosophy of.

Flow sensors flow meters. 1100 atwater drive malvern pa 19355 we reserve the right to make technical alterations without prior notice. Commonly manufacturing facilities rely on flow sensors to monitor varied types of media from water oils and coolants to gases like. 4 digit alphanumeric display alternating indication of red and green 3.

Observe the changed pressure rating. Mounting from the side for vertical pipes. Internal thread m18 x 1 5. Sured using ifm adapters for small flow rates ifm adapter blocks are available 4 1 installation location general the sensor tip is to be completely sur rounded by the medium insertion depth of the sensor.

Ifm electronic gmbh friedrichstraße 1 45128 essen we reserve the right to make technical alterations without prior notice. With our us headquarters and warehouse situated in southeastern pennsylvania we are poised to serve our 26 000 customers nationwide. Flow sensors sa4100 drawing print scale drawing l. Leds display unit switching status 2.

Ifm electronic gmbh friedrichstraße 1 45128 essen we reserve the right to make technical alterations without prior notice. Flow sensors sa5000 drawing print scale drawing 1. Upper part of the housing can be rotated by 345 5. En gb sa5000 01 10 12 2019 accessory headline.

Viewing 1 post of 1 total author posts 1st august 2019 at 11 09 pm 33386.

Combined Measurement Flow Sensor With Integrated Temperature Measurement Youtube

Combined Measurement Flow Sensor With Integrated Temperature Measurement Youtube

Flow Sensors Flow Meters By Application Ifm Electronic

Flow Sensors Flow Meters By Application Ifm Electronic

Si5000 Flow Monitor Ifm Electronic

Si5000 Flow Monitor Ifm Electronic

Si1000 Flow Monitor Ifm Electronic

Si1000 Flow Monitor Ifm Electronic

Source : pinterest.com